Namco Bandai, it seems, is working on an alternate reality game. A patent filed in the USPTO details a ghost tapping game played on a device that looks a lot like a Nintendo DS.
Players start by taking a photo of an object, a house in this example. The game adds ghosts to the picture for you to tap for points.
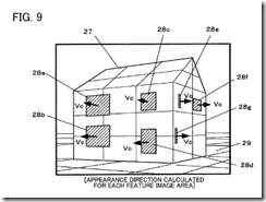
Ghosts can fly out of windows because the game deconstructs the image. Namco Bandai has a system that extracts features and looks for objects with a nested structure (points 20, 22, 24, and 26 in figure 6).
The type of feature image determines what kind of monster pops out. The stereotypical ghost comes out of quadrangular image areas, like rectangular windows. A rabbit-like creature appears if there are elliptical imageareas.
This concept might be tough to flesh out into for a boxed game, but as an alternate reality shooter for DSiWare… or maybe 3DSWare this could be pretty neat.