Nintendo Patents Multi-Screen Communication Usage

Siliconera Header Logo Siliconera Google Preferred Search results site design

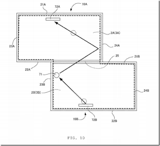
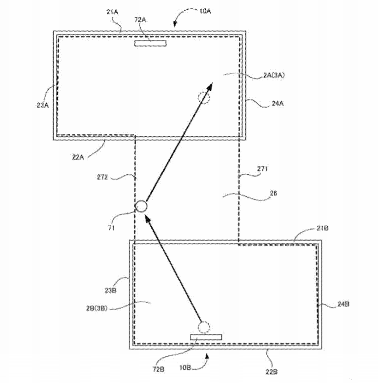
multidisplay Earlier this month, Nintendo patented a multi-display communication method which could be a new way to play local multiplayer using the Nintendo Switch or various smart devices. [Thanks, Digital Trends!]   Using new processing apparatuses, a coordination is set between two screens when one of the screen is touched, sending a signal to the other screen that calculates where the object should appear no matter where the other screen is. For example, in the above image, the two screens are not exactly side-by-side, but flicking the ball makes the apparatus calculate the position to have the ball seamlessly appear as it crosses over into the other screen.   multidisplay2   Here is the same exemplary game, except with the screens further apart. The game calculates the position of a virtual ‘wall’ and bounces off it, appearing where it should be on the other screen.  

Recommended Videos

multidisplay3 multidisplay4

multidisplay5

multidisplay6 multidisplay7

multidisplay8 multidisplay9

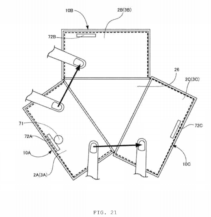
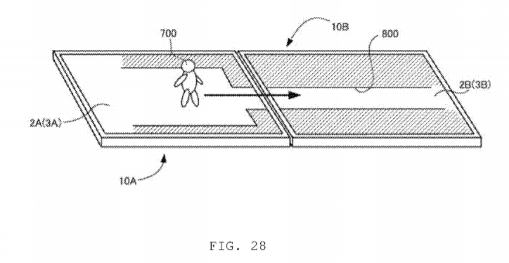
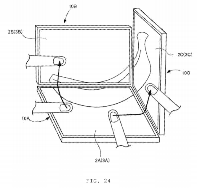
  The patent is also rife with other example games that could utilize this technology in various ways. One figure has several screens linked together, forming a ‘course’ of some sort, while other figures show the technology working even at an angle (limited motion control?), or even a free-for-all Pong TV-Game 15 match.   Simple games aren’t the only thing that could utilize this technology, as it is shown being able to work even when creating a faux-3D space, or using two displays to create a path for an adventurer to walk onto.   One thing unknown however, is how these apparatuses will be implemented. Are they a currently-unrevealed function on the Nintendo Switch, or is this something completely different? Only time will tell.

Alistair Wong
About The Author
Very avid gamer with writing tendencies. Fan of Rockman and Pokémon and lots more!