Wii

Is Nintendo Taking A Big Step Towards Edutainment?

Siliconera Header Logo Siliconera Google Preferred Search results site design

nin1 After capturing an expanded audience of senior citizens and adults that love Wii Sports you have to wonder who Nintendo plans on targeting next. A patent filed today in the USA shows one scenario. This patent is for a system of games designed for young children, defined by Nintendo as toddlers and pre-kindergartners, and/or people with disabilities.

Recommended Videos

 

Nintendo plans on capturing this market with a series of easy to control edutainment software that emphasizes skills like number recognition, color identification, reading/writing, and sound recognition.

 

Let’s take a look at some of the example games Nintendo has in the application. These are by no means final. They are concepts Nintendo may modify, expand on or never use.

 

nintep2

An animal matching game which teaches children about animals and how to interact with them. Players click on the shadows and try to discern which sound which animal makes.

nintep03

A number matching game designed to teach kids to count. Mario actually speaks in this game with sound bytes to announce the numbers.

nintep04

A letter matching game designed to teach children the basics of spelling. In this example the apple, ant, and alligator all start with “A” so the player should pick A. A variation of this game might have players pick a letter for the object that does not belong in a group.

 

nintep05

A memory or concentration game. The example has Pikachu cards that say his catch phrase “Pika Pika” connecting the TV show with the game. Match two Pikachus and you win. In you match Pikachu with a non-Pikachu tile he gets shocked!

nintep06

A maze game that could have puzzles as roadblocks leading to the exit.

nintep07

A matching game designed to teach children the shape of objects. The sailboat has a triangular mast so it links with the triangle. The dump truck has circular wheels and the jack-in-the-box is made of square faces.

 

nintep08

Nintendo also wants to use their system to educate children about daily tasks. The player character, in this case Mario, is on his day off from saving the Mushroom Kingdom in his house doing ordinary tasks.

 

This game acts as a life simulation of sorts where a player helps Mario as he’s waking up to make his bed. Motion control will be used to emulate grabbing the sheet and smoothing wrinkles with a slow horizontal motion. Nintendo emphasizes they want to use familiar characters and specifically mention familiar Nintendo characters, television and/or licensed cartoon characters like Pikachu, Dora the Explorer, and Bob the Builder as examples.

 

nintep09

A personal care mini-game where you learn about hygiene and help Mario brush his teeth. This mini-game sounds rather elaborate since Nintendo wants to record the inclination angle of the remote and the speed to determine which teeth you’re brushing and how effective you are.

 

nintep10

A family interaction game where players walk into a library and “meet” their parent to read a book. In theory, parents will play this game with their kids and read the “book” when text appears on the screen.

 

nintep11 nintep12

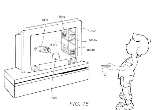
In this animal care game you interact with a virtual pet by feeding it with the right food, petting it, bathing it, checking for ticks, etc.

 

nintep13

A gardening game with horticultural lessons. Look out Gardening Mama!

 

nintep14

A game centered around a family outing like going to a zoo to learn about animals. Another outing takes players to an amusement park to learn about safety gravity. A camping game teaches wilderness survival skills with mini-games like making a fire.

 

Nintendo believes these games or learning tools will help young children develop skills. Forget the “Nintendo abandoned core gamers” mantra for a second and think if this plan will work. A long time ago Sega tried to grab the young children demographic with the Pico which had a drawing board. That didn’t work so well, but Nintendo has an elaborate edutainment plan with multiple concept games. Can they capture another audience for the Wii with this strategy?

Siliconera Staff
About The Author
Sometimes we'll publish a story as a group. You'll find collaborative stories and some housekeeping announcements under this mysterious Siliconera Staff Writer account.