Wii

Nintendo Patent Reveals The Wii Remote Was Originally Made For The Gamecube

Siliconera Header Logo Siliconera Google Preferred Search results site design

On March 10, 2006 Nintendo filed a patent for an “Accelerometer-based controller” in Japan, which is now registered on the US Patent and Trademark database. I wont bore you with the technical details because we know what it’s for, the Wii remote.

Recommended Videos

 

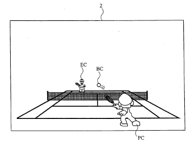
On further perusal, the patent figures have some interesting tidbits. One sketch shows Mario playing tennis, which we know from a previous GDC was of the original concepts that became Wii Sports Tennis. Another figure shows the Wii remote linked to a Gamecube console via a Wavebird-like adapter.

 

wiiremote

wiiremoteb 

 

Images courtesy of the USPTO / Nintendo.

Siliconera Staff
About The Author
Sometimes we'll publish a story as a group. You'll find collaborative stories and some housekeeping announcements under this mysterious Siliconera Staff Writer account.