PlayStation 3

SCEA Patent Shows Plans For Mystery Science Theater 3000 Style Interactive TV

Siliconera Header Logo Siliconera Google Preferred Search results site design

Recommended Videos

Sony Computer Entertainment America may bigger plans for the PlayStation 3 as a video player. They recently filed a patent that mixes Netflix Party on Xbox Live and Mystery Science Theater 3000. The document actually mentions Mystery Science Theater 3000 as inspiration for the invention in the background section.

 

This proposed program puts an overlay on top of a “media presentation” like a TV show or movie and allows players to interact with it while the presentation is playing. How? Here’s an example from the patent

 

“For example, avatars displayed to a user, in response to user gestures in the real world, e.g. in response to manipulation of a game controller or other such expedient, may toss tomatoes that stick to the actor’s face or bounce off the actor’s face and roll along a table that appears in the movie or television show.”

 

Tomato tossing could be a scored mini-game. The patent explains players could get more points if you hit a star, for example. Overlays will act like virtual worlds with their own physics not related to the movie and tomato throwing avatars controlled by players.

sonya

 

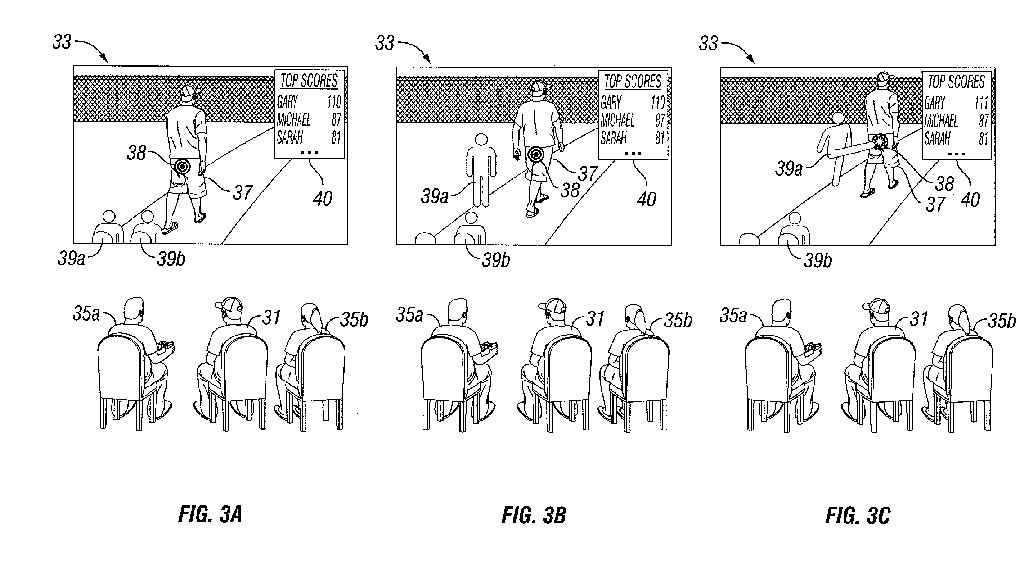
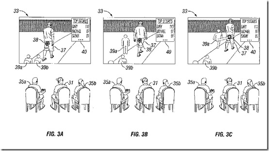
In this example, an avatar gets up to kick a movie character’s butt, literally.

sonyb2

 

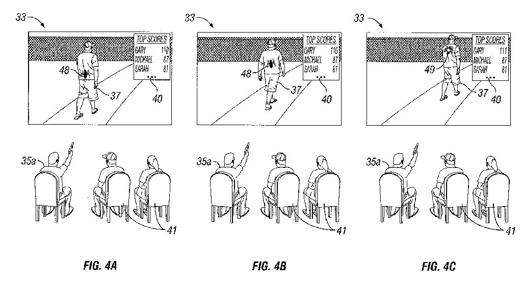
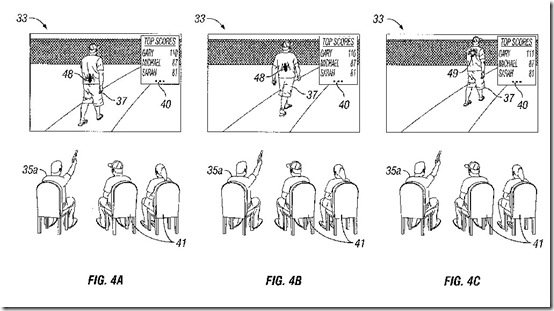
And, finally SCEA explains a spider shooting mini-game.

 

In FIG. 4A, one audience member (35a) has a game controller or other such device that is used to shoot at the spider. Other audience members may passively view the presentation. As an actor walks through a scene in the media presentation, the virtual spider moves with the actor, and also moves up the actors back to bite the actor in the neck.

 

In FIG. 4C, the audience member 35a has shot at the spider and hit it. This is indicated in this embodiment by the spider exploding 49. Because the spider was hit (and the actor spared the fate of having his neck bitten), the score 40 of the audience member is incremented. Thus, Gary’s score is incremented to 111.

sonyb1 

 

Sony mentions other applications like a Where’s Waldo style game where you can hunt for characters and sponsorships like giving players Coca-Cola cans to lob instead of tomatoes.

 

Interesting idea, perhaps best applied to B-movies and comedies. Maybe, Sony plans to integrate this in the PlayStation Home theater or for games with chock full of cutscenes.

Siliconera Staff
About The Author
Sometimes we'll publish a story as a group. You'll find collaborative stories and some housekeeping announcements under this mysterious Siliconera Staff Writer account.