PlayStation 3

Schematic Guts Of A PlayStation Move Controller

Siliconera Header Logo Siliconera Google Preferred Search results site design

This is the PlayStation Move, Sony’s motion controller for the PlayStation 3.

Recommended Videos

 

image

 

This is what’s inside, according to a schematic drawing from a patent filed by Sony Computer Entertainment America. The accelerometer tracks motion. The gyroscope detects orientation. The magnetometer measures the direction and strength of nearby magnetic fields.

psmove1

 

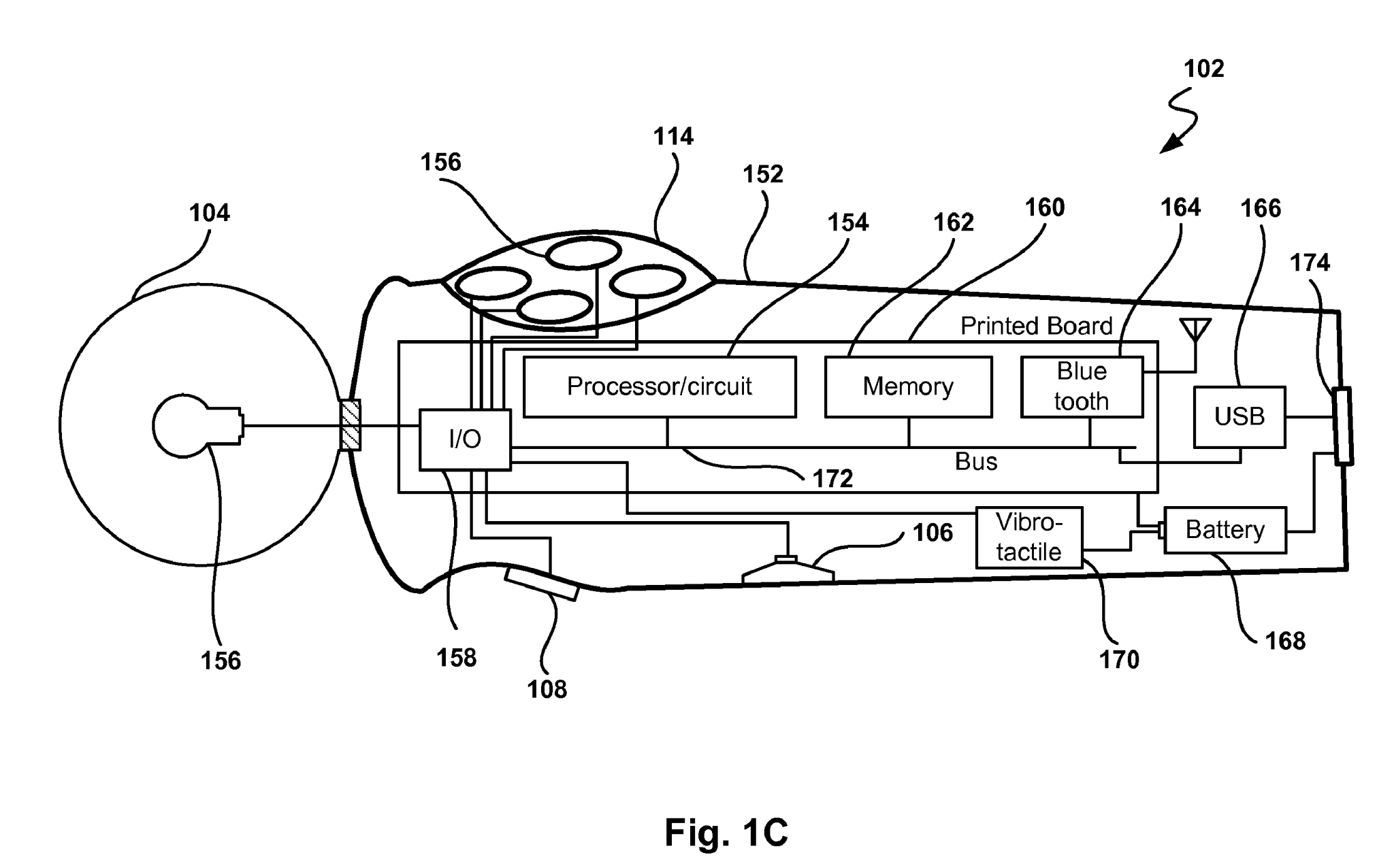
And here’s a diagram of the circuit board.

psmove2

Siliconera Staff
About The Author
Sometimes we'll publish a story as a group. You'll find collaborative stories and some housekeeping announcements under this mysterious Siliconera Staff Writer account.