Sony Files Patent For VR-Use Prescription Glasses That Can Track Your Eyes

Siliconera Header Logo Siliconera Google Preferred Search results site design

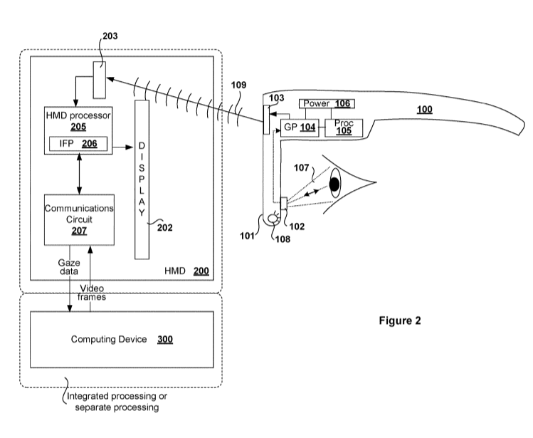
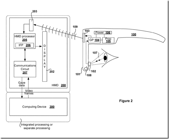
For many with prescription glasses, playing with VR goggles is a pain. Fortunately, it seems that Sony has come up with a (perhaps inelegant) solution to the problem, for potential use with PlayStation VR. That is, prescription glasses that are meant to be used with VR head-mounted displays.   In the patent, filed in December 2017 and published this month, Sony first describes the problems with wearing glasses together with eye gaze tracking systems – due to the extra lenses on the glasses, the direction of the gaze can not be determined as accurately. This causes blurriness, distortion, reflections, and more, especially since the glasses might not stay 100% in place either.   vr glasses 2 The solution? Make prescription glasses the source of the eye tracking rather than the VR headset. The glasses, as seen in the header picture, contains system components that detect if the player has a VR display on their head, and if positive, activates sensors that detect the user’s gaze, then wirelessly transmits the info to the VR display, as seen above. Furthermore, the headset might have a camera in it to detect the physical position of the glasses, which in tandem with the above information, can create accurate focusing on what the player is looking at, and track the gaze of our bespectacled brethren.   Here’s the entire process below: vr glasses 3   The glasses themselves might have electrical components like infrared LEDs on the lens themselves, and also might transmit data on the model and power level of the lens for even more precise tracking. For those clear-sighted of us, the descriptions talk about how the head-mounted display will have the usual eye tracking systems intact that activate when the VR headset is worn without the glasses on.     It’s interesting to see some of the methods Sony is coming up with in order to solve some existing problems with the current generation of PlayStation VR. That said, it doesn’t sound that feasible, especially as glasses are expensive enough already even without IR LEDs in them. Sony would likely also need to partner up with a glasses maker if this were to become a thing.

Alistair Wong
About The Author
Very avid gamer with writing tendencies. Fan of Rockman and Pokémon and lots more!