Sony Files Patents For VR eSports Live Viewing, And More

Siliconera Header Logo Siliconera Google Preferred Search results site design

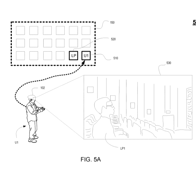
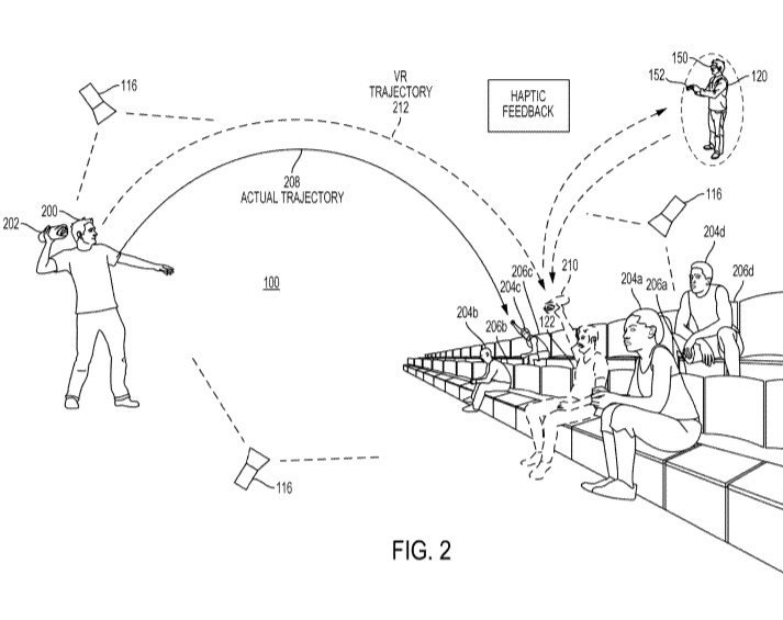
sony vr esports 1 While it should come as no surprise that Sony has been busy filing patents for ways to use their VR technology, some of it is actually quite interesting, such as several that describe virtual live eSports competition viewing via special audience seats at the live venue.   sony vr esports 2 In this patent, filed in 2017 and published this month, Sony describes ways how a virtual reality headset user could be able to experience live eSports from their home for, say, PlayStation-held tournaments. Using various cameras at the venue, including the seats, Sony wants to generate 3D live views that VR users can anchor themselves to, such as a seat from the back row, or even VIP seating.   This technology could let even more players be able to participate in the growing eSports genre as a viewer, although it isn’t hard to think of how this could be monetized, such as certain views being restricted unless you pay. As for now though, the patent just describes how you can change the viewpoint using the gaming controller.   sony vr esports 3 As the 3D view is a recreation of the live venue, if the seat next to the VR one happens to have someone sitting in them, you’ll be able to view them as well.   sony vr esports 4 Even more interestingly, one version shows how you’d be able to see other virtual spectators recreated in the venue, although the method behind this isn’t quite described in this patent. You could literally have a ghost audience in the venue where only the VR “ghosts” could see each other.   All this would supposedly take place over network connections to computers that would capture the views and send the data presumably to the VR headsets.   sony vr esports 5 Here’s a look at how the virtual seating could work, and how they’d be able to pick up the voices and views from around the seats.   sony vr esports 6 Of course, the patent isn’t limited to just viewing the live venue – it also covers watching direct feed gameplay from different POVs via the VR headset.   sony vr esports 8 In a related but different patent, filed in 2017 as well, Sony shows off more conceptual designs for VR seats, which would employ spherical panoramic cameras to capture full 360 degree footage in real time. This patent in particular talks about how live venue participants and VR participants could interact with each other. For example, with speakers built in the chairs, you’d be able to hear VR participants talk if they have microphones equipped, as well as as well as their appearance via a screen (although once again, the technology for this part isn’t elaborated upon).   Likewise, the VR person will be able to see the real people sitting nearby, and enjoy a heightened sense of “really being there” thanks to the chair’s microphones capturing all the sounds around them. The patent talks about how the seats could be activated by methods such as pressure pads that notify the chair if someone’s sitting in it if weight goes past a certain point.   sony vr esports 9   Here’s a funny one, filed in 2018. This particular patent builds off the previous ones, but describes a method in which after identifying the VR user’s profile and preferences, as well as the real-world coordinates of various points in the real life venue, Sony could overlay their own images onto the recreated environment in the VR headset. As shown in the above image, it could provide a cheeky way of bypassing sponsor ads, and supplant them with some the VR user is more interested in.   sony vr esports 12 Finally, we have this one, filed in 2017. Using video feed from various angles as described before, this time the subject matter is about audience interaction such as throwing gifts to the audience – except rather than a live audience, it’s for a VR audience.   By having the cameras capture the angle and trajectory of the thrown object, such as a T-shirt being given out, a predicted landing area of the thrown object will be generated, and players with a controller and/or motion controller will be able to interact with the stage by actions such as raising their hand to catch gifts. The real gifts turn into VR gifts, essentially.   sony vr esports 11 In the virtual world, the patent describes how such gifts could be things like an actual T-shirt that is mailed to the player, avatar costumes, digital coupons and promotional codes, credits, or even in-game skins and weapons and more. Players could be encouraged to share the news via social media, share the gift with another spectator or digitally transfer the gift to a friend, or more.   Once again, the question comes down to this – how feasible is it? While it’s extremely doubtful that every one of these VR patents will come into use, we can see how Sony wants to combine their VR technology to provide different ways to have more people engage in the extremely lucrative eSports market.

Alistair Wong
About The Author
Very avid gamer with writing tendencies. Fan of Rockman and Pokémon and lots more!