PlayStation 3PlayStation Vita

Sony Patent Reveals Biometric PS3 Controller And Handheld

Siliconera Header Logo Siliconera Google Preferred Search results site design

Way back at E3 2009, Nintendo announced the Wii Vitality Sensor, an accessory players would clip on their fingers to feed biometric data (specifically the blood-oxygen saturation level of your index finger) into a video game. Plans for the Vitality Sensor have been put on ice since the device has difficulty performing with consistent results.

Recommended Videos

 

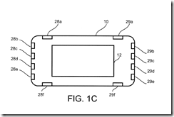
Perhaps, Sony will get the jump on biometric controls? A patent application reveals their possible plans for a biometric controller and handheld with specifications similar to the upcoming PlayStation Vita.

 

image image image

 

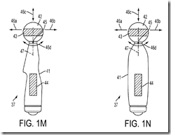
The patent also has design schematics for a biometric DualShock3 controller and PlayStation Move style wand.

 

image image

 

Sony’s proposed devices will measure three biometric factors: galvanic skin resistance, electrocardio data, and electro-muscular data or in plain English – how moist your skin is, your heart rhythm, and muscle movements. All of this information will be sent into a video game by simply holding a controller or handheld. How are games going to use this? Sony has a list of ideas in the patent application.

 

  • Weapons that change depending on how stressed you are. An increase in stress level could make a weapon more accurate or less steady, which will make it difficult to target an enemy. Sony specifically mentions a sniper situation where the weapon becomes more steady if you’re relaxed.
  • Tensing up your muscles to withstand an attack or charge up a shield.
  • A video game character whose facial expressions, movements, posture, and even voice changes depending on your biometric data. For example, this character will sweat when a player is nervous.
  • An adrenaline style boost which will let you run faster, jump higher, and punch harder when stressed.
  • A health bar that depletes more rapidly if you have a high stress level.
  • An attack button that changes a character’s move depending if the player is stressed or relaxed.
  • Background music and scenery that changes depending on your stress level. Matching music is one example, but Sony also proposes to change music to make a player more relaxed. Brightness of objects and the zoom level, representing a higher level of focus, are two ideas for scenery.
  • A game that adapts difficulty levels depending on a players stress level.

 

Which idea do you think has the most potential as a game mechanic?

Siliconera Staff
About The Author
Sometimes we'll publish a story as a group. You'll find collaborative stories and some housekeeping announcements under this mysterious Siliconera Staff Writer account.