Nintendo Patent Shows Wii Vitality Sensor Game Example

By Spencer . October 7, 2010 . 3:55pm

imageAfter announcing the Wii Vitality Sensor, Nintendo hasn’t said much about the accessory other than its still in development. A Nintendo filed patent application we found shines some light on what kind of games we may see for it.

 

First, let’s take a look at how the Vitality Sensor works.

 

image

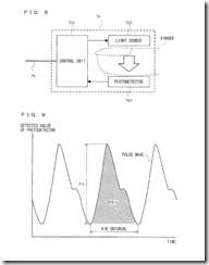
The Vitality Sensor fires a light beam on one end and has a photodetector on the other. Hemoglobin, an oxygen transport protein found in red blood cells, absorbs some amount of infrared light since a player’s finger is in between the light source and photodetector. A person’s pulse rate goes up under stress, which increases blood flow, and the concentration of hemoglobin in a fingertip. That means more hemoglobin and less infrared absorption on the photodetector side. If you’re calm, your blood flow rate should be lower as well as the amount of hemoglobin in your finger tip, which means the photodector will absorb more infrared light.

 

image

 

The Vitality Sensor measures a player’s "relax fluid" this is calculated by measuring a cardiac cycle (R wave to R wave) over 100 pulses. Similar to a Brain Age, this number can be compared to the relax fluid of same aged persons.

 

stretch12 stetch13

 

Nintendo’s patent application mentions a stretch game where players tilt the remote up and down to move a character. While you’re moving flying character players have to adjust their breathing to match the ceiling’s dips and drops.

 

stretch14 stretch15

 

The character automatically moves as the screen scrolls to the right. When you inhale you fire the smiling blob’s hat up towards the ceiling. It drops when you exhale. The game uses the Vitality Sensor to identify inhales and exhales. An increase in heart rate means a player inhaled. A decrease means an exhale. The height of the ceiling adjusts to a players breathing too, it changes to get players into a more relaxing breathing pattern.

 

stretch16 stretch17

 

While the blob flies players need to tilt the remote to make its body dive up or down. If you touch the ceiling or floor you lose points.

 

image

At the end of the stretch game, players see the amount of relax fluid they had before playing and after. Since the goal of the game is to increase the amount of relax fluid it should go up along with parasympathetic nervous system activity.

 

Awhile ago we also discovered a Nintendo filed trademark for Wii Relax. Could this stretch game be part of Wii Relax?


Read more stories about & & & on Siliconera.

  • Happy Gamer

    higher pulse rate reaction in game…
    sanity…
    Eternal Darkness.

    in this case i think i’ll be insane 100% of game lol

    • kylehyde

      An eternal darkness remake or a new eternel darkness developed by retro studios would be really awesome.The are rumor that during this month NOA or NOE will have a conference related to Wii, also we have to remember that year ago (more or less) nintendo registered again Eternal Darkness. So I have the crazy theory that this could happen (God, Kami-sama listen our prayers).

      • Code

        I never played it, but isn’t Eternal Darkness owned by Silicon Knights, not Nintendo. To my knowledge Nintendo was just the publisher?

        • kylehyde

          Silicon Knights was a Nintendo affiliated company during the gamecube era, in fact nintendo owned many of their stocks, also there was an agrement that they will only develop for nintendo consoles and this includes eternal darkness.Another prove that Eternal Darkness belongs to nintendo, is that nintendo itself registered again the trademark (a note that was covered in siliconera), meaning that still the ip belongs to them.

          • Just to add to this, Silicon Knights are still affiliated with Nintendo by way of equity investment.

          • Code

            Ah alright thanks for the information, I was never quiet sure where Silicon Knights sat back then because they only really made one game on GameCube. Unless your counting Twin Snakes. See I would have guessed Eternal Darkness would have been like Perfect Dark to Rare, where Rare was the rights holder still. Never played any of there games besides Twin Snakes though, but I like having a good understand of what’s what when it comes to companies.Also interesting fact Ishaan thanks >w<

  • Chow

    I’m pretty sure my heart rate has gone up a lot while playing most of my horror games, but the one time I actually remember feeling my heart pounding and my hands going cold was while I was playing Haunting Ground/Demento and you were running out of places to hide.

  • No more remake and this is silly too. Nah!

Video game stories from other sites on the web. These links leave Siliconera.

Siliconera Tests
Siliconera Videos

Popular