In addition to Kingdom Hearts: Birth by Sleep and Final Fantasy Agito XIII, Tetsuya Nomura has some top secret projects in the works. That’s what he told Famitsu and we may have a glimpse at one of them.
Square Enix filed a patent application with Tetsuya Nomura as the inventor for a character switching battle system. The patent describes a RPG/action RPG (it mentions both terms) where a player character can switch and control a temporary character during combat. When you jump into the shoes of another character you get his/her/its stats and special abilities. Once time runs out, you automatically switch back to the main character and inherit the temporary character’s abilities.
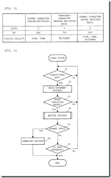
Take a look at the special ability row in figure 5. Notice how the normal character has fire and cure spells? After switching to a temporary character, the player can cast blizzard, but not cure. When the clock runs out the player returns to the main character’s body and inherits blizzard magic from the temporary character. Other parameters like HP (hit points) can also be inherited.
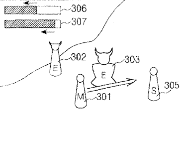
These two diagrams detail the character switching process. Figure 3 is an example of how the camera angle changes when you switch characters. Figure 3A shows camera placement for the main character (301), temporary character (305), and enemies (302 and 303). Figure 3B is from the perspective of the main character who is facing two enemies. When the player switches to the girl in figure 3C the camera changes to the perspective of the girl who is behind the chocobo.
Figure 4 explains the targeting system a bit. The main character can automatically target temporary characters to switch to. Before switching, a status window pops up showing the temporary character’s: name/occupation, level, HP, and any special abilities. Once you switch, the timer in the top right hand corner counts down. When it expires you go back to the main character.
The patent did not specify a platform, but said this battle program is designed for a “portable gaming apparatus” that looks like the “thing” pictured on the right. The unnamed gizmo looks a lot like a PSP.
New Geist-like RPG from Tetsyua Nomua for PSP in 2010?