Xbox 360

Microsoft Developing MMO “Advertars”

Siliconera Header Logo Siliconera Google Preferred Search results site design

msfta

Recommended Videos

The Xbox Live dashboard ads won’t be the only ad supported revenue stream. Microsoft’s R&D department developed and patented a system for advertiser-generated avatars or “advertars”, as I like to call them. Here’s how it works.

 

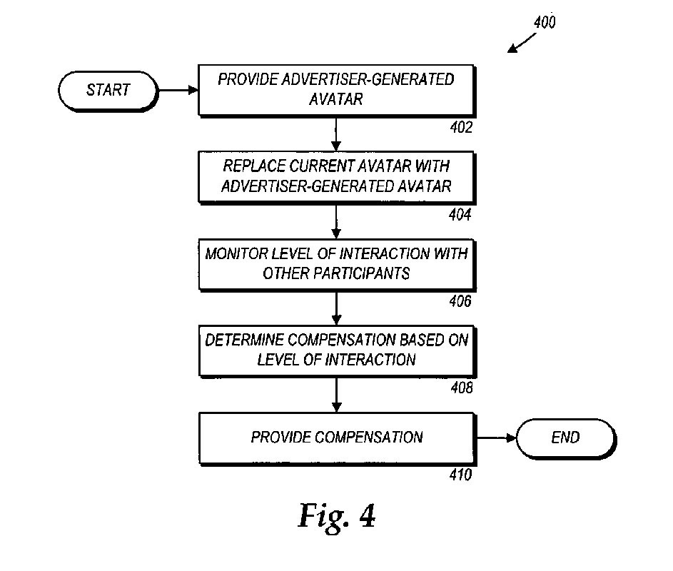
MMO players or virtual world netizens may wear an advertiser-generated avatar and interact with other players, sort of like a walking billboard. Why would you want to do this? Microsoft plans to offer “compensation as payment for interacting with other avatars.”

 

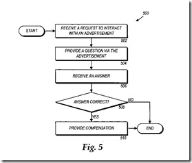
OK, so why would a player want to interact with a walking sales pitch? Participants can also receive compensation for interacting with an in game advertisement. Advertars will run through a list of questions. The amount of compensation a player gets may depend on the number of questions he or she correctly answers. Make a mistake and you might have to see a “brand-accurate message” to continue.

 

msftb

 

“Compensation” isn’t set in stone, but Microsoft gave a few examples. It may be real world currency, virtual currency, points, or even virtual world objects like “virtual food to keep a virtual pet, such as a virtual dog (item 324 in figure 3B) alive and functioning.”

 

msftc1 msftc2

Figure 4 details the compensation system for players wearing an advertar. Figure 5 details the system for players that interact with the advertar.

 

And, finally, here are examples of how Microsoft could use the system in a game or virtual world.

 

In one example, to advertise the movie TRANSFORMERS, an advertiser may provide the robot BUMBLEBEE, which is a popular character in the movie, as the advertiser-generated avatar. The BUMBLEBEE avatar may include functionality to “transform” between the robot and the CHEVROLET CAMARO depicted in the movie. In another example, to advertise the cereal TRIX, an advertiser may provide the TRIX RABBIT as the advertiser-generated avatar. The TRIX RABBIT avatar may include functionality to say the popular catchphrase “SILLY RABBIT, TRIX ARE FOR KIDS.” In yet another example, to advertiser the ZUNE digital media player from MICROSOFT CORPORATION, an advertiser may provide an image of the ZUNE digital media player as the advertiser-generated avatar. The ZUNE digital media player avatar may include functionality to change colors, change models, and play various digital media.

 

Imagine playing a MMO. Now imagine playing the same game with a color changing Zune avatar and the Trix Rabbit shouting “Silly Rabbit, Trix are for kids!” during a raid.

Siliconera Staff
About The Author
Sometimes we'll publish a story as a group. You'll find collaborative stories and some housekeeping announcements under this mysterious Siliconera Staff Writer account.