Wii

Namco Bandai Developing A New Kind Of Drumming Game

Siliconera Header Logo Siliconera Google Preferred Search results site design

imageMove over Taiko no Tatsujin! Namco Bandai is working on another drum game, one that doesn’t require a plastic drum.

Recommended Videos

 

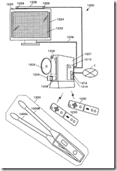
A patent filed by Namco Bandai with Pac-Man Championship Edition Executive Producer, Nobutaka Nakajima, as the inventor outlines a drum game with Wii remote drumstick shells. OK, the patent doesn’t single the Wii out, but it requires a remote shaped controller with an accelerometer. In other words, this game system is designed for a Wii remote.

 

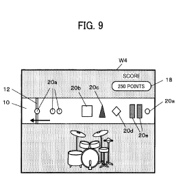
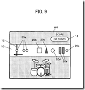
After you insert two remotes into Namco Bandai patent pending drumstick shells you can use a desk or any flat surface like a drum. Don’t worry, your remotes are safe from percussion damage. The shells have a stick that absorbs the shock. Aside from the unique controller, this drum game plays more or less like any other music game — you hit moving notes on beat.

 

image image

 

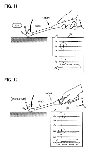
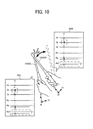
Well, there is a key difference. The type of drum sound made depends on the drumstick angle on impact. Hit it straight down for a tom drum sound. Tilt the controller left and you have a snare drum. A bunch of motions, sounds, and sketches for the controller are shown in these diagrams.

 

image image image image image 

imageimage image

 

Rock Band contender? Probably not, but Namco Bandai may be able to break into the music genre overseas with this game.

Siliconera Staff
About The Author
Sometimes we'll publish a story as a group. You'll find collaborative stories and some housekeeping announcements under this mysterious Siliconera Staff Writer account.