Wii

Namco Bandai Developing An Inflatable Taiko Drum Controller For Wii

Siliconera Header Logo Siliconera Google Preferred Search results site design

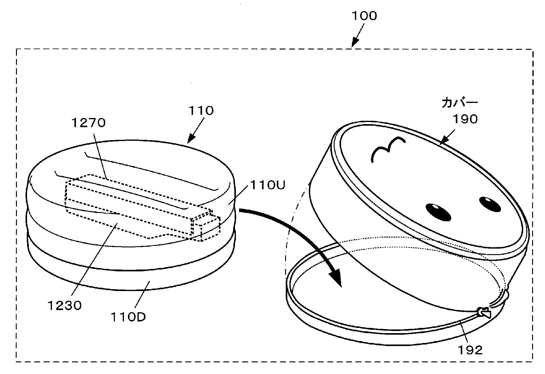
taiko1A patent in the Japanese patent database reveals plans for another Taiko no Tatsujin accessory. This one being a squishy Wii remote case with Wada-don’s face.

Recommended Videos

 

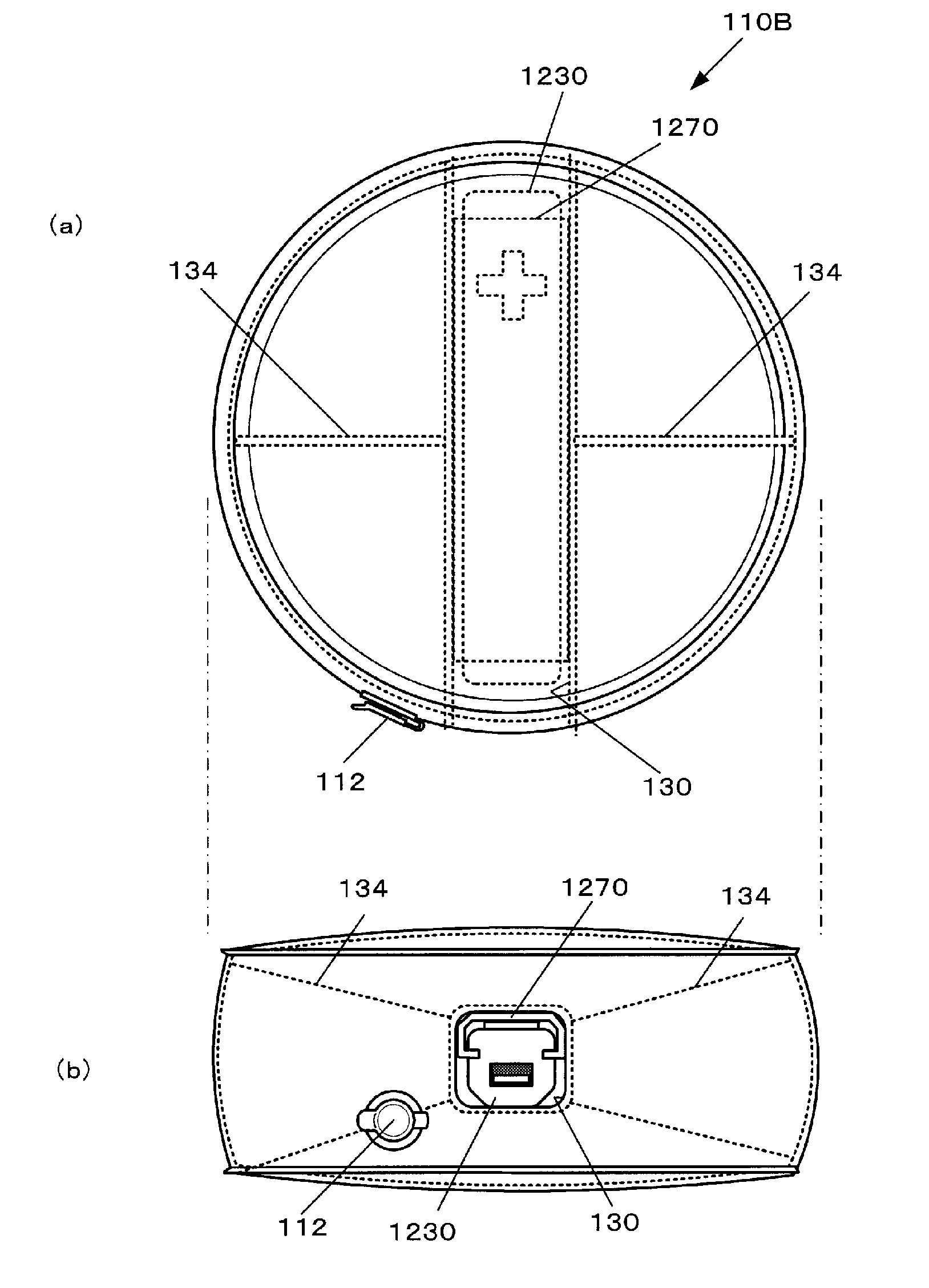
Users put their Wii remote inside the inflatable drum shell and tap on it to hit notes. While the patent doesn’t specify a game, the drawing makes it pretty obvious this is for Taiko no Tatsujin or, as it’s known in the US, Taiko Drum Master.

 

taiko3

 

Namco Bandai filed the patent earlier this year, after Taiko no Tatsujin was released on the Wii. The current Taiko no Tatsujin accessory is a plastic drum, similar that plugs into a Wii remote. It’s bulky and more expensive to manufacture than an air cushion.

 

The Wii version of Taiko no Tatsujin was a hit in Japan. Music games are hot in North America. Maybe Namco Bandai wants to give Taiko Drum Master another chance overseas, but they don’t want to ship the game with a costly peripheral. So, they thought of an alternate solution. This solution.

 

taiko2 taiko4

Siliconera Staff
About The Author
Sometimes we'll publish a story as a group. You'll find collaborative stories and some housekeeping announcements under this mysterious Siliconera Staff Writer account.