NewsNintendo Switch

Nintendo Files Patent for Touch Pen Attached to Joy-Con Strap

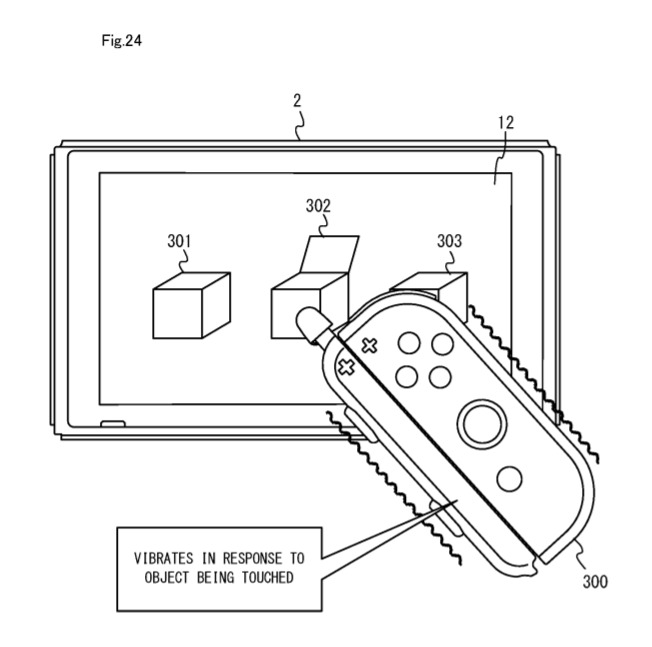
A new published patent in the US Patent Office by Nintendo, filed on June 4, 2019, reveals an invention that is actually something rather obvious in hindsight – a touch pen attachment for the Nintendo Switch Joy-Cons. Essentially, it’s a Joy-Con strap that looks and is attached similarly to the original, but with an extra touch pen nub on top. As you might expect, this strap attachment is meant to work with the touchscreen in Handheld mode, utilizing detached Joy-Cons. What makes this ingenious is that it essentially means that you can utilize both touchscreen and button controls with just the Joy-Cons. The patent also shows off some interesting uses of this touch pen strap, including game uses. In the above example, the touch pen is used to touch a box, and the game sends a signal to make the controller itself rumble as feedback to touching the box. This can be used alongside HD Rumble to rumble differently depending on whether it was a winning box or not. In another example, an application of this dual controller is shown with a drawing game, where you can draw with the touch pen on the touchscreen of the Switch. By pressing a button, you can immediately change the thickness of the line drawn. With games like Dr. Kawashima’s Brain Training for Nintendo Switch coming out, as well as touchscreen functions like with Super Mario Maker 2, it’s not surprising that Nintendo is looking for ways to cut down on extra tools like the stylus pen that’s given out with physical copies. It could also be useful if Nintendo decides to make a Switch iteration of the Art Academy series. It seems like a neat addition to the Switch’s peripherals, and an overall upgrade to the straps included with the Switch at base.

Alistair Wong
About The Author
Very avid gamer with writing tendencies. Fan of Rockman and Pokémon and lots more!