Wii

Nintendo Investigating Wii Hard Drive System

Siliconera Header Logo Siliconera Google Preferred Search results site design

The Wii, currently, does not have a hard drive. However, Nintendo appears to be considering one since they filed a patent for a process that transfers Wii games to a hard drive.

Recommended Videos

 

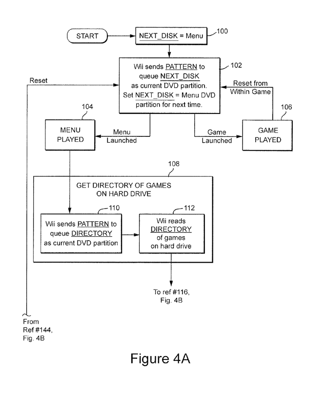
Nintendo’s plan is to make a separate hard drive partition for each DVD game. Once games are saved on a hard drive, the Wii reads a directory and shows all available games with box art. This is done by accessing a virtual DVD partition on the hard drive. The interface also displays ESRB ratings and the patent mentions possible parental controls.

 

Here’s a flowchart of the system.

 

pat1 pat2

 

Seems like Nintendo has a plan in place for streaming Wii games from a hard drive. The question is will they release it for the public.

Siliconera Staff
About The Author
Sometimes we'll publish a story as a group. You'll find collaborative stories and some housekeeping announcements under this mysterious Siliconera Staff Writer account.