Wii

Nintendo Patent Reveals Accessory That Turns A Wii Remote Into A Touchpad

Siliconera Header Logo Siliconera Google Preferred Search results site design

image

Recommended Videos

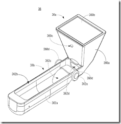
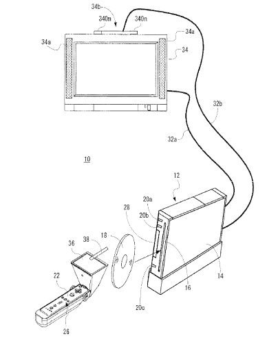
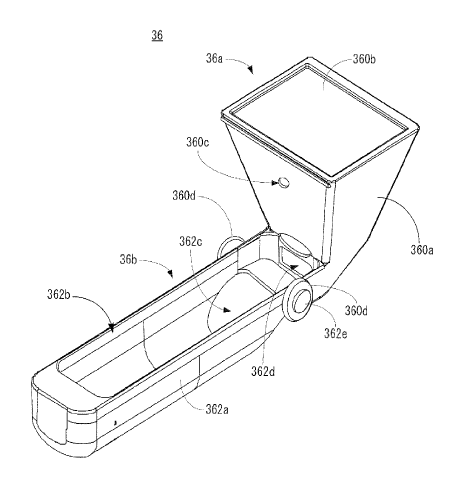
Wii U’s defining feature is a giant touchpad controller. While one player controls Samus’ spaceship, other players may have tiny touch screens of their own. A Japanese patent application filed by Nintendo reveals an accessory you slide on to a Wii remote and turns it into a touchpad.

 

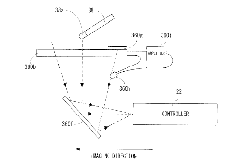
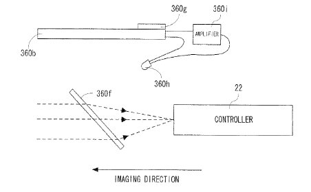
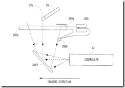
The magic of mirrors makes the device work. When you touch the pad an infrared LED turns on and the amplified beams from the LED bounce off the mirror and are interpreted by the controller as position data. If you don’t touch the pad, the remote works just like a standard Wii remote.

 

image image

 

Nintendo proposes their accessory can be used as an in-game drawing pad or to add a mouse pointer interface to a video game.

Siliconera Staff
About The Author
Sometimes we'll publish a story as a group. You'll find collaborative stories and some housekeeping announcements under this mysterious Siliconera Staff Writer account.