Wii

Nintendo Patent Reveals Unreleased "Wii Light" Accessory

Siliconera Header Logo Siliconera Google Preferred Search results site design

Nintendo was (and perhaps still is) working on a mood lighting accessory for the Wii that reacts to how you play a video game. A patent filed back in Japan circa 2009 reveals the device, which has not been released to market yet. Plug the "Wii Light" into your console and the LEDs blast a rainbow of colors.

Recommended Videos

 

image

 

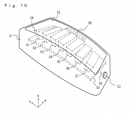
The Wii Light is made up of red, blue, and green LEDs. By turning on different LEDs and adjusting saturation the accessory can output 256 different colors.

 

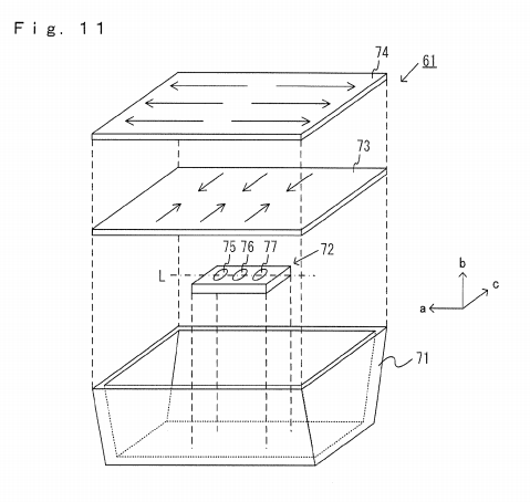
image image

 

Light from the LEDs go through condensing lenses to blend the colors from each LED so the light appears as one colored beam.

 

image

 

In addition to changing colors, the Wii Light can output different intensities and patterns, like blinking. The patent also details how developers could use the device with games. Take a fighting or shooting game, the Wii Light could change color when a bullet hits its mark or if a fist reaches a face. Games could be programmed to synchronize button presses with light flashes or changing colors too.

 

Perhaps, more interesting application is a proposal for music games. The Wii Light can change colors to match a game’s background music. For music games, the light can sync to a player’s plastic instrument so players can hear and see how well they’re playing [insert instrument here] Hero.

 

If Nintendo decided to go through with the Wii Light, would you buy one? Better question what would make you want one?

Siliconera Staff
About The Author
Sometimes we'll publish a story as a group. You'll find collaborative stories and some housekeeping announcements under this mysterious Siliconera Staff Writer account.