Wii

Nintendo Patent Shows Wii Vitality Sensor Game Example

Siliconera Header Logo Siliconera Google Preferred Search results site design

imageAfter announcing the Wii Vitality Sensor, Nintendo hasn’t said much about the accessory other than its still in development. A Nintendo filed patent application we found shines some light on what kind of games we may see for it.

Recommended Videos

 

First, let’s take a look at how the Vitality Sensor works.

 

image

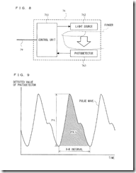
The Vitality Sensor fires a light beam on one end and has a photodetector on the other. Hemoglobin, an oxygen transport protein found in red blood cells, absorbs some amount of infrared light since a player’s finger is in between the light source and photodetector. A person’s pulse rate goes up under stress, which increases blood flow, and the concentration of hemoglobin in a fingertip. That means more hemoglobin and less infrared absorption on the photodetector side. If you’re calm, your blood flow rate should be lower as well as the amount of hemoglobin in your finger tip, which means the photodector will absorb more infrared light.

 

image

 

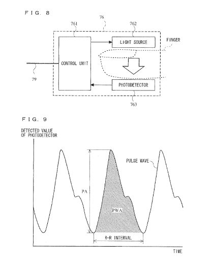
The Vitality Sensor measures a player’s "relax fluid" this is calculated by measuring a cardiac cycle (R wave to R wave) over 100 pulses. Similar to a Brain Age, this number can be compared to the relax fluid of same aged persons.

 

stretch12 stetch13

 

Nintendo’s patent application mentions a stretch game where players tilt the remote up and down to move a character. While you’re moving flying character players have to adjust their breathing to match the ceiling’s dips and drops.

 

stretch14 stretch15

 

The character automatically moves as the screen scrolls to the right. When you inhale you fire the smiling blob’s hat up towards the ceiling. It drops when you exhale. The game uses the Vitality Sensor to identify inhales and exhales. An increase in heart rate means a player inhaled. A decrease means an exhale. The height of the ceiling adjusts to a players breathing too, it changes to get players into a more relaxing breathing pattern.

 

stretch16 stretch17

 

While the blob flies players need to tilt the remote to make its body dive up or down. If you touch the ceiling or floor you lose points.

 

image

At the end of the stretch game, players see the amount of relax fluid they had before playing and after. Since the goal of the game is to increase the amount of relax fluid it should go up along with parasympathetic nervous system activity.

 

Awhile ago we also discovered a Nintendo filed trademark for Wii Relax. Could this stretch game be part of Wii Relax?

Siliconera Staff
About The Author
Sometimes we'll publish a story as a group. You'll find collaborative stories and some housekeeping announcements under this mysterious Siliconera Staff Writer account.