Patent Week: A Retrospective

Siliconera Header Logo Siliconera Google Preferred Search results site design

Why are patents important? They tell a story you’re not going to immediately hear from company until months or years later. Maybe never. Not all patents will be used, that’s a given. A patent represents a concept or idea a company believes could be important in their future.

Recommended Videos

 

Next week thousands of video game developers will congregate in San Francisco for GDC to discuss the future of games. I thought it would be neat to highlight possible futures pre-conference and came up with an idea for an unofficial patent week as an experiment.

 

I hope you enjoyed a glimpse behind the iron doors of various research and development departments. If you did and want to see more things like this here post a comment or send us a tweet.

 

Here’s a recap of Pre-GDC 2009 Patent Week:

 

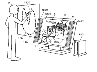
Sony Computer Entertainment
LED wand / ring controller
Robot accessory

 

Namco Bandai
Motion controlled RPG battle system

 

Square Enix
Puzzle RPG battle system

 

Nintendo
Motion controlled edutainment software

Siliconera Staff
About The Author
Sometimes we'll publish a story as a group. You'll find collaborative stories and some housekeeping announcements under this mysterious Siliconera Staff Writer account.