PlayStation Motion Controller Patents Return With Two New Inventions

Siliconera Header Logo Siliconera Google Preferred Search results site design

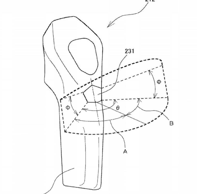
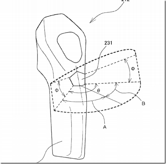
ps move 1   Sony Interactive Entertainment has patented two new functions in relation to what seems to be an upgraded motion control device for home game machines. Both of them focus on making the controls feel more natural by adjusting feedback based on different factors. The patent PCT was filed in Feb 2017, and was published on February 7, 2019.   ps move 3   What’s interesting is that this isn’t the first time these controller designs have popped up. Last year, it was found that Sony Interactive Entertainment filed two patents using a rounder grip design that keeps the same general look established in the newer patent, hinting that there may be more to these patents than just theoretical designs. [Thanks, VR Focus!]   ps move 2   Essentially, the controller has an L2/R2-like button that can be depressed at the back. The first of the newly discovered patents talks about using a thumb sensor block (tagged as 231 in the header picture) to judge hand positioning, and adjust the feedback on the depressable button. When the button is pressed in certain situations, such as if you pick up objects in a virtual game, the controller will present an opposing force against the player’s input depending on the object that can let players feel the size and texture of the virtual object. This even extends to virtual objects that can be pressed down upon but slowly restore their shape – in this case, the controller first stops at a certain point to let players feel the original position, then returns control of the button if players continue to press harder, thus creating an illusion that you’re pressing into the object.   ps move 4   Meanwhile, the second patent also utilizes the thumb sensor block, and focuses on how its utilities can be used. In this case, the thumb sensor is used to track whether the player is holding the controller in their left or right hand. Depending on the detection, the controller can automatically remap its button functions for the correct hand.   With these sort of patents as well as ones on letting observing players look into the same game environment as the player and adjusting the VR display according to the headband size, it seems that Sony is finding new ways everyday to double down on VR technology.

Alistair Wong
About The Author
Very avid gamer with writing tendencies. Fan of Rockman and Pokémon and lots more!