Rejected Sony Patent Shows Robots That Can Track And Control Your Surroundings For VR

Siliconera Header Logo Siliconera Google Preferred Search results site design

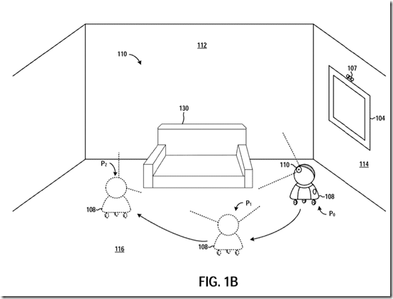
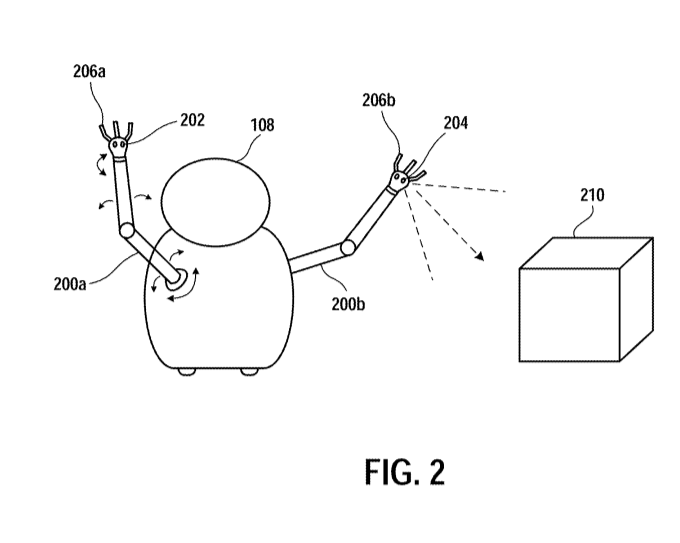
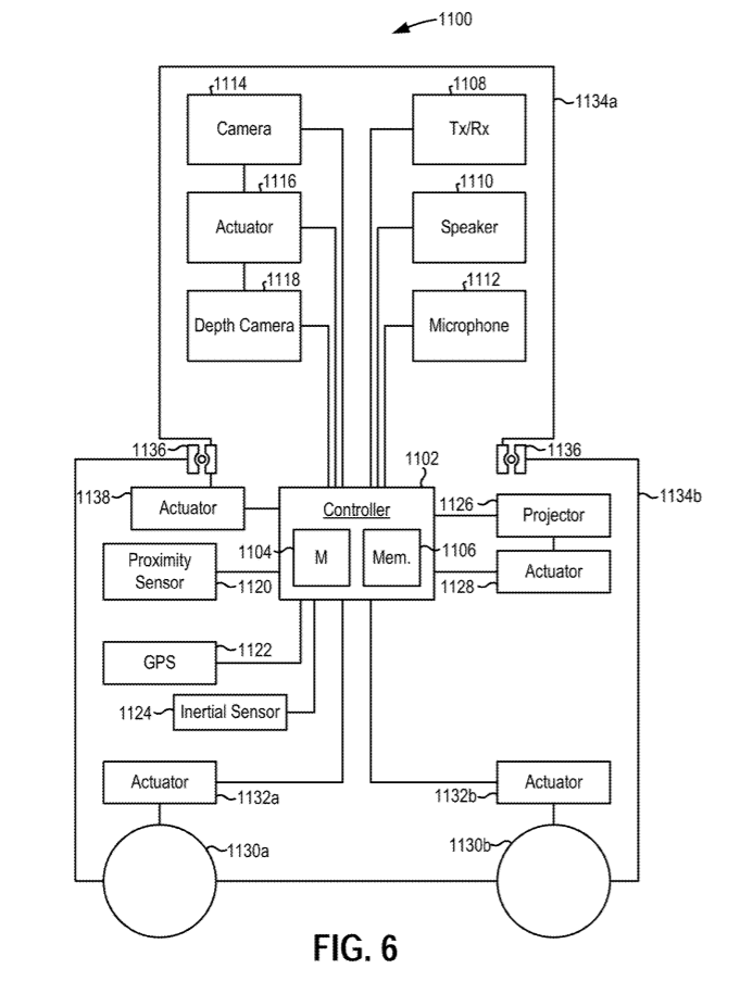
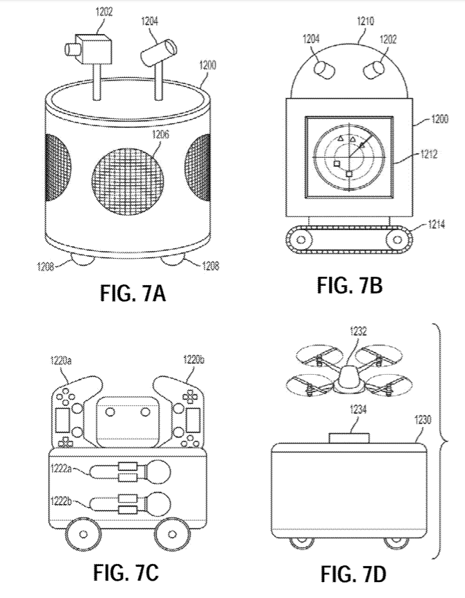
We’ve documented several of Sony’s VR patent filings over the months, but this one goes into placing actual robots into your play environment, so that it can see your movements and your environment so that it can simulate real-life objects into your VR environment, so you know the boundaries better. It can also adjust your lights for optimal play.   robot patent 2 This particular patent was filed in December 2017, and came to light last month. As of now, the patent has been rejected. But it’s still a nice look at what could have been. These figures show off a robot that is able to move around via wheels around your home environment, capturing the details of your surroundings via cameras, and potentially sensors that can even track what sort of surface it’s riding on for further detail. What it sees is then rendered with 3D polygon models onto the virtual space seen by the VR goggles user, so they are able to see the limits of where they can go in real life.   robot patent 3 In one implementation, the robot could have arms that include lights and cameras. Using the lights and cameras, it would be able to more faithfully capture the shape of objects, thanks to the seeing how light and shadows plays across the surface in different angles. It could even use the arms to pick up the object to capture the image from different angles.   robot patent 4 Potentially, the robot could even connect with the lighting system in one’s home via a network like a WiFi network, in order to see the objects in different light intensities to track the shapes better in a similar way as the arms. It could also potentially sense magnetic properties in the environment that could add interference to the VR experience.   robot patent 5 Here’s a look at what the insides of the robots could have looked like.   robot patent 6 robot patent 7 Here we see some examples of what the outer appearance could look like, with some having extra function like spots to place controllers and PlayStation Move controllers. There’s also an example of a straight-up humanoid robot.   robot patent 8 Finally, we have a reappearance of a familiar image, which shows people dynamically looking into VR players’ environments on different devices. We detailed them last year here, and the fact this aspect reappears here might mean that the robot could fulfill that role as well.   As this patent has been rejected, it’s likely never coming to life, and some people might just be thankful for it. But it’s a good look at what could’ve been part of the next step of VR.

Alistair Wong
About The Author
Very avid gamer with writing tendencies. Fan of Rockman and Pokémon and lots more!