PlayStation 3

SCEA Experimenting With “Laugh Detecting”, Emotion Tracking Software

Siliconera Header Logo Siliconera Google Preferred Search results site design

laughd

Recommended Videos

Laughter… as a “controller”? It sounds funny on paper, but Sony Computer Entertainment America seems serious about the concept considering they filed a patent for a laugh detecting program.

 

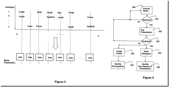
The application picks up on metadata, which includes laughter recorded by the microphone and a user’s expression from the camera. Both devices are linked to a “game console”, shown as a PlayStation 3 in the diagram, which identifies the user, notes emotions, and transfers the data over a network.

 

How will Sony identify emotions? The patent mentions identifying body gestures and tracking group interactions “such as when two individuals give each other a ‘High Five.'” Sony also developed smile detecting software for their Cyber Shot W120 camera which could be used too.

 

While the patent focuses on laugher it can identify other emotions such as sadness, excitement, anger, joy, interest, and boredom. For example, boredom may be detected if a user is “looking away from the presentation, yawning, or talking over the presentation.”

 

laugh2

Here’s an example set of data and a flow chart depicting how the system works.

 

The software isn’t limited to video games. It can also be used for TV shows, films, and other media presentations, but we’ll drop those for now.

 

What do you think of a game that can read your emotions? Perhaps, an RPG that changes its story or the way the characters interact based on how you react.

Siliconera Staff
About The Author
Sometimes we'll publish a story as a group. You'll find collaborative stories and some housekeeping announcements under this mysterious Siliconera Staff Writer account.