PlayStation 3

Sony Computer Entertainment Making… A Robot Accessory?

Siliconera Header Logo Siliconera Google Preferred Search results site design

 

Recommended Videos

Imagine playing a video game bundled with a tangible robot that rolls around on your carpet. Sounds unbelievable, but Sony Computer Entertainment filed a patent application for just that in June of last year.

 

sonyrb2

 

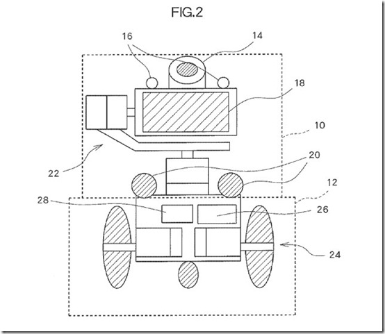
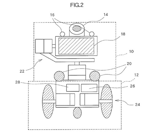
The robot is designed with a camera (item 14) to detect its surroundings and a display (18) which can show images. A microphone that reacts a user’s voice and speaker allows the robot to respond to sound as well. Sony also plans to add a position detection sensor to the robot such as an acceleration sensor, gyro sensor, or possibly a GPS receiver.

 

Unfortunately, the patent doesn’t give any clues on how the robot can be used for a game. The document details the information processing system which lets the robot respond to commands even though a player’s viewpoint is different than the robot’s. Remember, if this is going to be used for a game you will be glued to a screen while the robot’s camera points at a different direction.

 

Two questions: Do you want one? What can Sony do with a possible PS3 robot?

Siliconera Staff
About The Author
Sometimes we'll publish a story as a group. You'll find collaborative stories and some housekeeping announcements under this mysterious Siliconera Staff Writer account.