Sony Files Patent For Developer Interfaces For Editing Videos In VR

Siliconera Header Logo Siliconera Google Preferred Search results site design

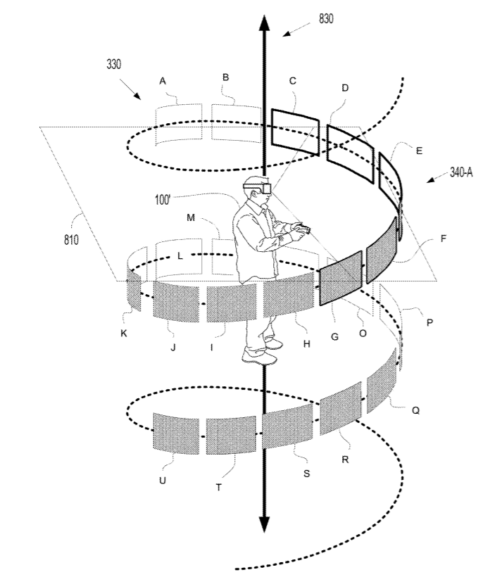
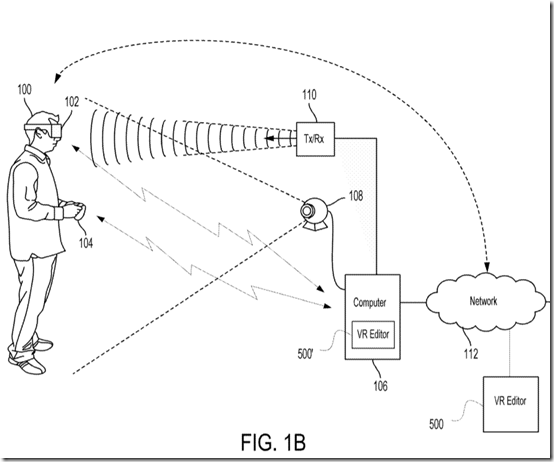
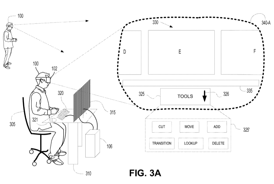
In something a bit different from the usual, Sony filed a patent for a use of VR intended for developers to take advantage of, rather than consumers. The patent came to light on June 20, 2019, but was filed in December 2017.   vr editing 2 This patent is intended to make creation of 3D video and gaming content easy to make, by providing a 3D editing space with the help of VR. While it’s possible to use controllers, motion controllers, mouse and keyboard to help with this, one of the examples also shows off hand gestures and body gestures used to control the UI.   vr editing 3 Essentially, viewing the 3D space via the VR display is meant to make it easier for developers to bridge the gap between working on 2D screens and the 3D end product, so that it is easier for them to see what it looks like during the editing process, cutting down the need for lots of trial and error.   vr editing 8 The examples show the UI arranged in blocks of scenes, which makes it easier for developers to edit and rearrange the order of scenes, especially when tackling content like 3D videos. Presented in a linear order in a helical fashion, and using hand or body gesture motions to control the order of the scenes, developers of the future might be creating 3D content in a manner similar to the interfaces you see in futuristic movies, thanks to the VR UI.

Alistair Wong
About The Author
Very avid gamer with writing tendencies. Fan of Rockman and Pokémon and lots more!