PlayStation 3

Sony Patents A Motion Control System That Uses Ordinary Objects As Controllers

Siliconera Header Logo Siliconera Google Preferred Search results site design

ps31

Recommended Videos

We saw Sony unveil a LED wand during their E3 press conference. The device in conjunction with an EyeToy camera brought motion control to the PlayStation 3. In addition to that Sony developed another motion control system that uses everyday objects.

 

A recently published patent from Sony details a system where a camera can dynamically map an object — any real world object — for use in a video game. The illustration has a U shape block, but the patent outlines other example objects “include items such as coffee mugs, drinking glasses, books, bottles, etc.” While these are given as examples the object mapping system is not limited to those objects, it can identify any three dimensional object.

 

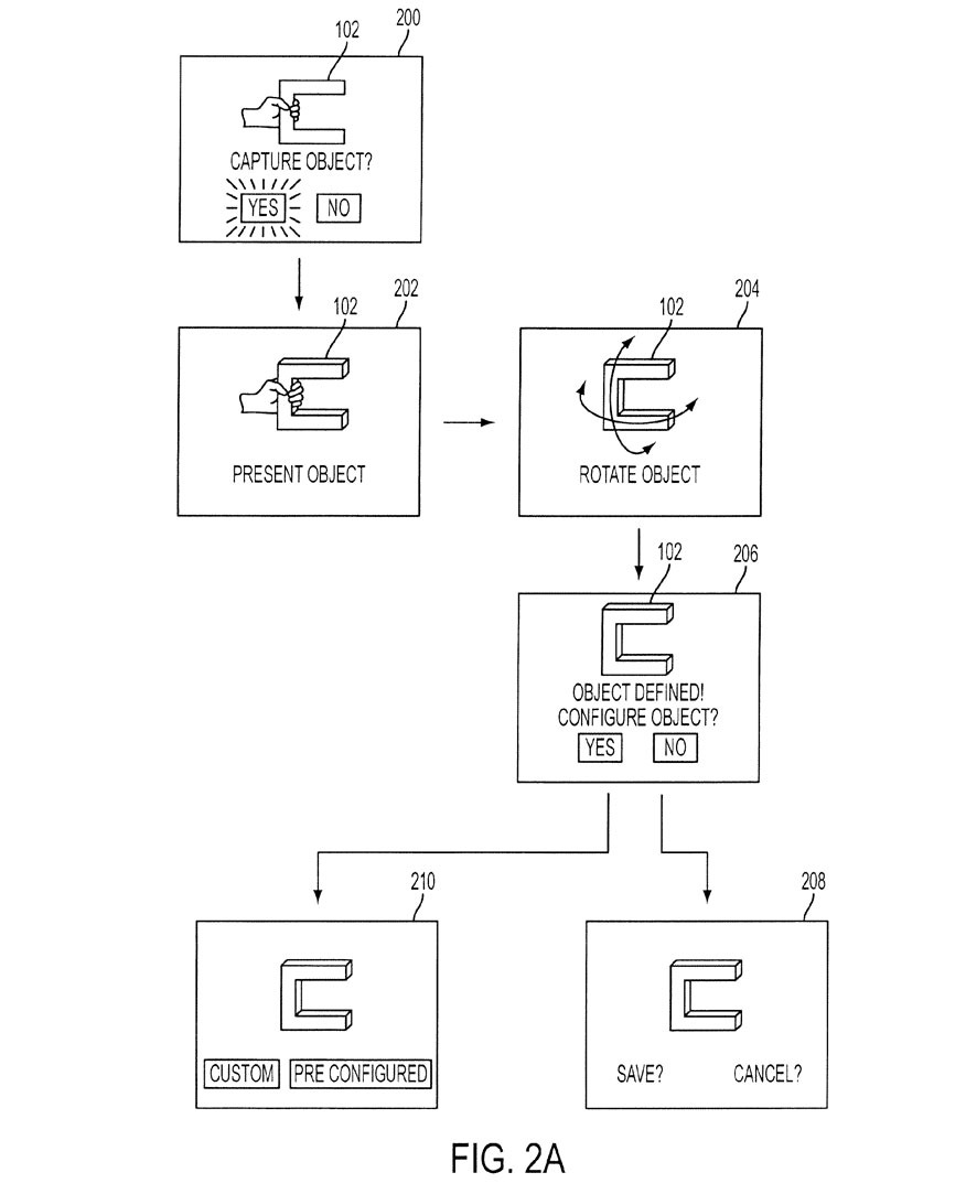
3dobject flowchart

Before using an object like the U shaped block the camera captures has to capture it. Figure 2 explains the system where players show the object, rotate it, and save a profile for it in a file. The system then analyzes movements and translates them into in game actions.

 

Here are some examples of how Sony could use this technology. The “virtual world light sword” in figure 3B is particularly interesting. When a player holds the U-shaped block up the sword is “on” and the blade will be extended in the game. When the U-shaped block is upside down the sword is “off”.

ps32 ps34 ps35 ps36 ps37

 

The system looks like Microsoft’s Project Natal, but instead of driving with an imaginary steering wheel players can use an everyday item like a plate.

 

Good? Bad? Is Sony’s LED ring controller better?

Siliconera Staff
About The Author
Sometimes we'll publish a story as a group. You'll find collaborative stories and some housekeeping announcements under this mysterious Siliconera Staff Writer account.