PlayStation 3

Sony Patents Emotion Engine Emulation Technology For Cell Processors

Siliconera Header Logo Siliconera Google Preferred Search results site design

imagePlayStation 3s without PS2 backwards compatibility are missing the Emotion Engine, a chip Sony designed as the PS2’s CPU. What if the PS3’s cell processor could emulate the Emotion Engine? Theoretically, all PlayStation 3s would be able to play PS2 games even if a console didn’t have the proper hardware. According to a recent patent filed by Sony Computer Entertainment in the US, Sony has the code and technology ready to do this.

Recommended Videos

 

There are two main ways to emulate hardware. Interpretation is when target code is decoded and converted into a language the host can understand. The other strategy is to decode and recompile programs in the host’s language.

 

Maybe the concept is better explained another way. Interpretation is like having someone constantly translating English to Japanese for you, non stop, twenty four hours a day wherever you go. Decoding and recompiling is like someone translating a sets of words and putting them in a dictionary you can reference.

 

Sony developed a way to translate instructions from an Emotion Engine chip into chunks that can be referenced.

 

image eeemu emusta

 

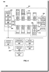
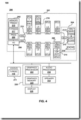
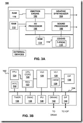
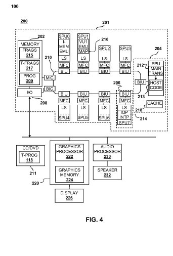
Figure 2 from the patent is a schematic drawing of how the system works. Figure 3A is a drawing of the PlayStation 2’s chipset. Figure 3B is the emotion engine. Figure 4 is where the whole story gets interesting! It’s “an example of a host system based on a cell processor that may be configured to emulate the target system.” The target is figure 3B, the Emotion Engine.

 

There aren’t too many reasons why Sony would want the PS3’s Cell processor to emulate the PS2’s Emotion Engine and the key one is backwards compatibility.

 

Perhaps, a firmware update or the new PlayStation 3 slim, which our friends at Ars Technica say is coming this fall, will utilize this technology.

Siliconera Staff
About The Author
Sometimes we'll publish a story as a group. You'll find collaborative stories and some housekeeping announcements under this mysterious Siliconera Staff Writer account.