Sony’s New Published Patent Shows A Controller Camera That Can Sense Your Expressions

Siliconera Header Logo Siliconera Google Preferred Search results site design

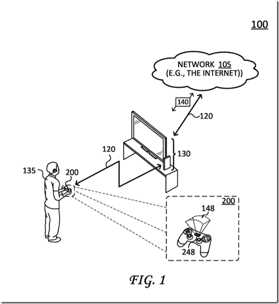
A recently published patent filed by Sony Interactive Entertainment back in 2017 shows off an example of a video game controller with a camera built in. In particular, this camera will detect your facial expressions, and generate an emoji that matches your current expression.   Broadly speaking, states Sony, despite some improvements to communication in gameplay amongst players, video games have not kept up in regards to things like graphic characters and emojis that have evolved to become an essential part of online chat. This invention is meant to fix that.   emotion engine 2 According to the patent, the integrated camera operation would be handled by the game system, which will connected to the internet will allow you to send emojis immediately. In some examples, Sony also mentions that the emojis could be generated off players’ facial features as well, to varying degrees based on whether its actually creating one from scratch, or pulling from pre-made parts.   emotion engine 3 Finally here’s an example picture that seems to be taking place in a Souls-like game.   Putting aside the function of creating your own emojis on a game controller camera, it could be interesting to see if having a camera on the controller actually pans out. After all, the Nintendo Switch’s Joy-Cons also have something similar with the IR camera, which has been put to use in games like Nintendo Labo.

Alistair Wong
About The Author
Very avid gamer with writing tendencies. Fan of Rockman and Pokémon and lots more!