PSP

Sony’s PSP Controlled Remote Car

Siliconera Header Logo Siliconera Google Preferred Search results site design

pspcar A patent filed by Sony Computer Entertainment Europe details an invention where the PSP could be used to operate a remote car with a camera.

Recommended Videos

 

The proposed system has the car, which is moved via a wireless link to a PSP system, capture the environment with a mounted camera. Visual data from the car’s camera is beamed back to the PSP so the user can navigate around obstacles or record and save a movie. The patent specifically says, “a user may control the car 200 (ed’s note: that’s the figure number) so as to spy on their friends… then upload the stored video images to a website.”

 

sonypsp 

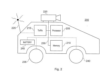
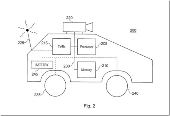
Here is a rough look at the car’s schematics. What you can’t see is Sony plans to give the car a speaker and/or microphone. The speaker can be used to play music or reproduce the sound of a particular car like a Ferrari or with editing, perhaps, the Mach 5. Sound effects like engine noises may be preloaded in the car’s memory.

 

imageimage

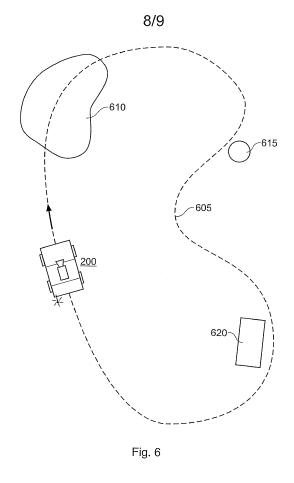
The car can also be used for a racing game within “augmented reality zones”. These are explained as areas with virtual markers and paths that players physically create. Think of it as a build your own race track video game. When you’re inside an augmented reality zone the car moves. Leave the zone and the car freezes so you don’t drive it down a staircase, for example. The patent proposes the augmented reality areas may show the real environment or replace objects with computer generated images. In other words the car can take your sofa and translate it into say, an alien mother ship.

 

Since this is a patent the PSP remote car system is theoretical. As a new idea there is potential if Sony uses it for more than a spy car. How about Gran Turismo Mobile Camera Car?

Siliconera Staff
About The Author
Sometimes we'll publish a story as a group. You'll find collaborative stories and some housekeeping announcements under this mysterious Siliconera Staff Writer account.