Square Enix Designed A Puzzle RPG Battle System

Siliconera Header Logo Siliconera Google Preferred Search results site design

pzs2

Recommended Videos

Whether you choose fight, magic or “instrument” combat in RPGs involves a lot of watching and not much action. Square Enix acknowledges this and says in a patent application registered in June 2007 “due to a selected attack being more or less determined, a player’s degree of skill has been little reflected in a result of the game.” Tetsuya Nomura and Crisis Core director Hajime Tabata’s solution to the skill issue is puzzle magic.

 

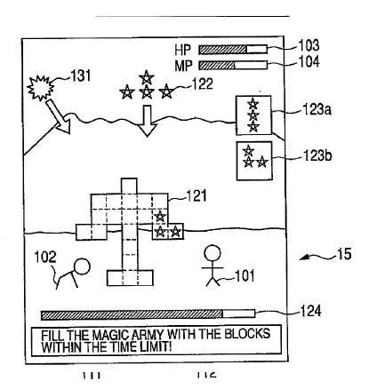
In this theoretical system a puzzle battle starts whenever a player selects magic. See the tree outline? It’s called a magic army. You need to configure the falling blocks to fit the frame before time runs out to cast the spell. Like Tetris blocks can be rotated and stacked. Magic effectiveness is determined by overlapping and extra blocks sticking outside of the frame. While this spell’s frame is a tree another attack like cometeo can have a meteor frame.

 

pzshape

These are examples of falling block pieces Square Enix plans to use with the system.

 

pzloop1 pzloop2

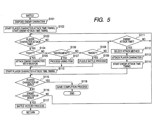
And here’s a detailed look at the battle loop. Figure five outlines the combat system in great detail. Figure 6 focuses on puzzle battles. In this design puzzle battles are only used for magic so if you’re not a fan of them you could ignore them by only choosing fight and instrument.

 

What do you think about Square Enix’s idea? Do you want an RPG with puzzle battles? What existing franchise and system would work well with this?

Siliconera Staff
About The Author
Sometimes we'll publish a story as a group. You'll find collaborative stories and some housekeeping announcements under this mysterious Siliconera Staff Writer account.