PlayStation 3

These Schematics Are From Sony’s Tony Hawk Ride Board

Siliconera Header Logo Siliconera Google Preferred Search results site design

sonyboard7

Recommended Videos

Sony was, possibly still is, working on a skateboard controller of their own. We found a device similar to Activision’s Tony Hawk Ride controller in a patent application filed by Sony Computer Entertainment.

 

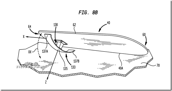
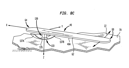
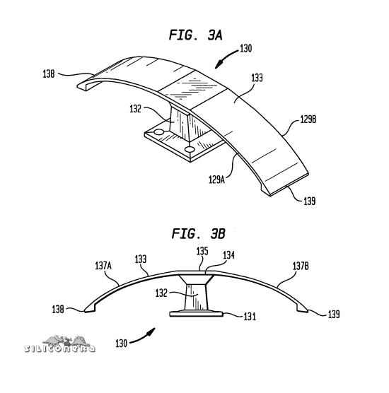
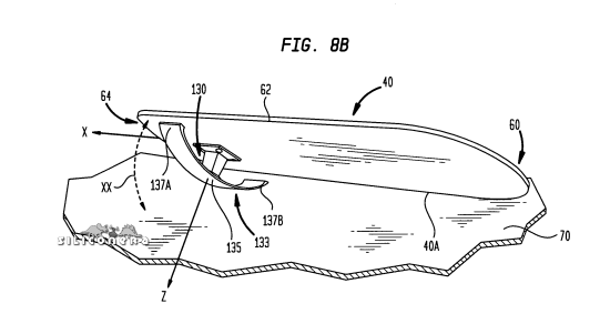
What makes Sony’s controller different is it rotates. You attach a skateboard-like controller with buttons (fig. 2) to a plastic base (figs. 3 & 4), which allows players to tilt the board. An complete set up is shown in figure 8 on top.

 

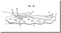
The patent application also lists other ideas like mounting a detachable skateboard, complete with wheels, to the base. After being used for the game, players can unscrew the board and use it in a real life halfpipe (fig. 7). Another idea was to put a reflective tracking ball on top of the board, which a camera can detect and process for game use.

 

sonyboard3 sonyboard4 sonyboard6  sonyboard1 sonyboard2

Siliconera Staff
About The Author
Sometimes we'll publish a story as a group. You'll find collaborative stories and some housekeeping announcements under this mysterious Siliconera Staff Writer account.