Two Quality of Life Device Applications Were Filed By Nintendo And Panasonic In February

Siliconera Header Logo Siliconera Google Preferred Search results site design

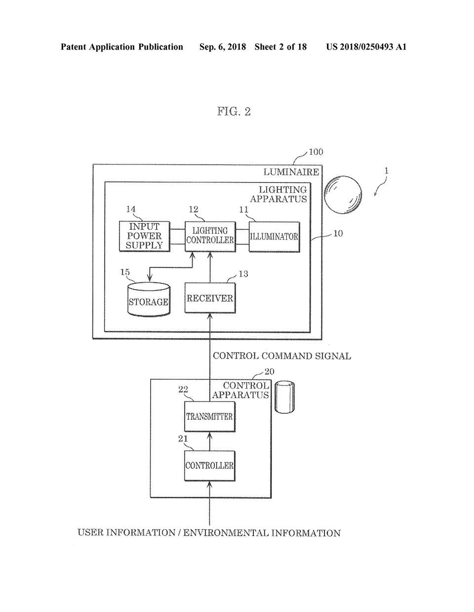
nintendo qol It seems that Nintendo’s Quality of Life initiative may still be alive and healthy after all. While nothing has been said on this aspect since Nintendo’s Annual Report for 2017, this February Nintendo and Panasonic filed two patent applications for just that. [Thanks, Resetera!]   nintendo qol 2 The quality of life devices were patented at the US patent and trademark office, and concern lighting devices that are supposed to help the user relax or wake up easier. The user can instruct the light to brighten or dim with increasing or decreasing luminance, mimicking the light that comes from a rising or setting sun.   Here are the abstracts for the two devices and apparatuses: LIGHT EMISSION CONTROL DEVICE, ELECTRONIC DEVICE, AND CONTROL METHOD Abstract A light emission control device includes a light emission controller which controls a light emitter and performs normal control and wake-up control, the normal control being control for causing the light emitter to emit light having a color temperature and luminance according to an instruction of a user, the wake-up control being control for causing the light emitter to emit light at increasing luminance over time to wake up the user who is sleeping. The maximum luminance of light emitted by the light emitter in the wake-up control is greater than the maximum luminance of light emitted by the light emitter in the normal control.   LIGHTING APPARATUS, LUMINAIRE, AND ELECTRONIC APPARATUS Abstract A lighting apparatus includes: an illuminator including a light source which emits illumination light; a lighting controller which controls the illuminator; and a receiver which receives, from a control apparatus, a control command signal generated based on at least one of user information and environmental information in order to control the illumination light of the illuminator, wherein the control command signal received by the receiver includes one or more parameters including, as an element, at least one of a brightness of the illumination light of the illuminator, a color temperature of the illumination light of the illuminator, and control time for controlling the illumination light of the illuminator.   The first device saw a Non-Final Rejection on June 26, while these applications themselves were published on September 6, 2018. While the device may keep the same core concepts, this means that the claims will need to be amended and resubmitted.

Alistair Wong
About The Author
Very avid gamer with writing tendencies. Fan of Rockman and Pokémon and lots more!