Unused Patent Shows That Nintendo Had Interest In Mobile Phones 15 Years Ago

Siliconera Header Logo Siliconera Google Preferred Search results site design

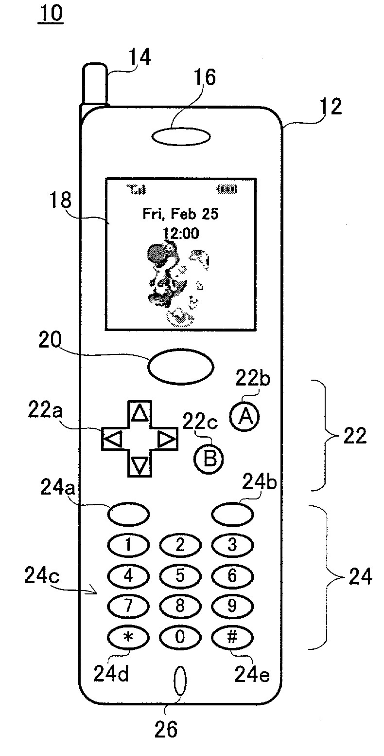
original Nintendo has recently gotten itself into the smartphone market with DeNA, having released their first app with more to come. While it may seem like a recent venture, a 2001 patent was recently shared on Reddit, showing that the company has had interest in mobile phones since long ago. [Thanks, Nintendo Life.]  

Recommended Videos

original1 original2

original3

In addition to the top image that shows a mobile phone and controller hybrid, the patent appeared to have had options to purchase Game Boy titles to play on the device, which included Super Mario DX, Metroid 2, and Golf.   While Nintendo is more active than ever with ambitious future plans for smart devices, it’s always interesting to look at these old patents and think about what could have been.

Sato
About The Author
Gamer, avid hockey fan, and firm believer in the heart of the cards.