Wii

Namco Bandai’s Theoretical Motion Controlled Wizard RPG

Siliconera Header Logo Siliconera Google Preferred Search results site design

Other than slashing thin air how can developers utilize motion control for a role playing game? Namco Bandai has an idea, one they were confident enough in to patent. First filed in Japan in November 2007 and released here in June 2008 this patent shows its age, but it’s neat to see something Namco Bandai hasn’t used yet.

Recommended Videos

 

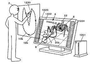
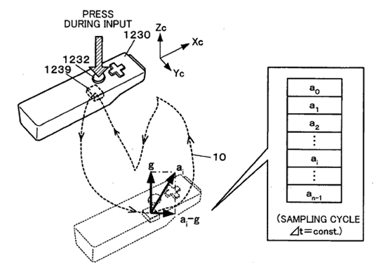
The document describes a tracing control scheme with the Wii remote acting as a sample controller for the application and a magic wand in the game. Input is activated by holding a button.

 

image

 

Example seal patterns for magic spells include a star and Pac-man. The simulated screen has a wizard and a cardboard box insect creature.

 

image

 

Once you start a motion the game analyzes the path. After you attack the enemy takes its turn and the process repeats until one party is defeated.

image image image

 

Here’s the unique idea in Namco Bandai’s concept: damage is partially based on the conformity of the drawing, but unaffected by the angle. You can draw the lightning seal straight in front of you, in the air or upside down and hit the monster for the same amount of damage if your drawing consistent. Namco Bandai’s idea is this system will test a player’s skill of following a moving path.

 

image image image image

 

Do you think this system will work in practice? Would you want to play a RPG where the Wii Remote or perhaps the PS3 controller acts as a glyph drawing magic wand?

Siliconera Staff
About The Author
Sometimes we'll publish a story as a group. You'll find collaborative stories and some housekeeping announcements under this mysterious Siliconera Staff Writer account.