Sony Developing A Colorful LED Wand For The PS2?

Siliconera Header Logo Siliconera Google Preferred Search results site design

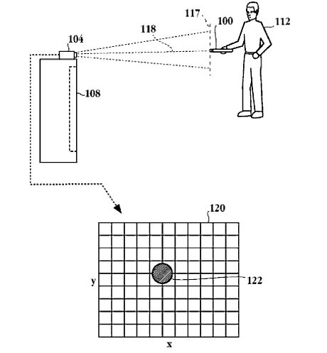
A US registered patent filed by Sony Computer Entertainment clues us in to a video game controller sitting somewhere in Sony’s R&D labs. The unnamed input device has a LED on the front and an external power supply. Emitted light is captured by an inexpensive camera and translated into user input data. Sony’s interface program is unique since the device produces one or more colors of light which allows greater flexibility for differently lit rooms.

Recommended Videos

 

Since this information was revealed in a patent we don’t know how Sony plans on using said device, if it ever surfaces. However, multiple patent diagrams showcase the PlayStation 2 which already has a cheap EyeToy camera readily available. You might be thinking Wii Remote knock off, but Sony’s controller may not be a wand.

 

sonyp5

 

Another diagram shows a different device using the same variable color LED emitting technology. This hypothetical controller is designed to fit on a finger, radiates light from multiple LEDs, and has buttons on the side. Ring controllers… the future of video games?

 

What do you think about Sony’s light input device interfacing program? Could it keep the PS2 going strong past 2010? Should Sony port it to the PlayStation 3? Or scrap the idea all together?

 

sonyp4 sonyp3

Siliconera Staff
About The Author
Sometimes we'll publish a story as a group. You'll find collaborative stories and some housekeeping announcements under this mysterious Siliconera Staff Writer account.